浩洋股份获得实用新型专利授权:“一种优化光学效果组件散热性能的舞台灯”
证券之星消息,根据天眼查APP数据显示浩洋股份(300833)新获得一项实用新型专利授权,专利名为“一种优化光学效果组件散热性能的舞台灯”,专利申请号为CN202421839237.4,授权日为2025年7月11日。

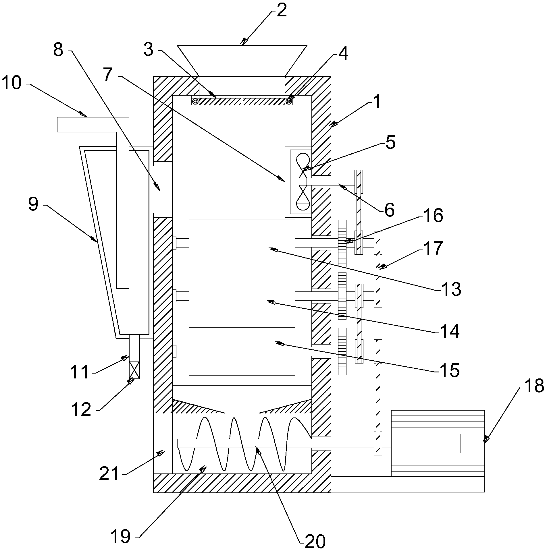
图片来源于网络,如有侵权,请联系删除
专利摘要:本实用新型涉及舞台灯技术领域,尤其涉及一种优化光学效果组件散热性能的舞台灯,包括灯头外壳、出光镜头以及光源,光源设置在灯头外壳的内部,出光镜头覆盖于灯头外壳的出光口并且处在光源的光路上,光源与出光镜头之间的光路上还设置有光学效果组件,还包括风罩和风机;光源套接在所述风罩内并且与风罩的内侧壁之间形成有间隙通道,风机的气流输出端接入于间隙通道,所述风罩上开设有允许光源对外出光并连通于所述间隙通道且朝向于所述光学效果组件的出风口。本实用新型能确保舞台灯内风机吹出的散热气流准确吹送至光学效果组件的热量集中位置,更适合应用于设有不同光学效果组件的舞台灯。
今年以来浩洋股份新获得专利授权56个,较去年同期减少了18.84%。结合公司2024年年报财务数据,2024年公司在研发方面投入了8585.07万元,同比增51.05%。
通过天眼查大数据分析,广州市浩洋电子股份有限公司共对外投资了8家企业,参与招投标项目226次;财产线索方面有商标信息57条,专利信息1035条,著作权信息327条;此外企业还拥有行政许可51个。
数据来源:天眼查APP
以上内容为证券之星据公开信息整理,由AI算法生成(网信算备310104345710301240019号),不构成投资建议。