康尼机电获得实用新型专利授权:“带有限位机构的门扇锁”
59371
2025月05月06日
证券之星消息,根据天眼查APP数据显示康尼机电(603111)新获得一项实用新型专利授权,专利名为“带有限位机构的门扇锁”,专利申请号为CN202421811933.4,授权日为2025年5月6日。

图片来源于网络,如有侵权,请联系删除
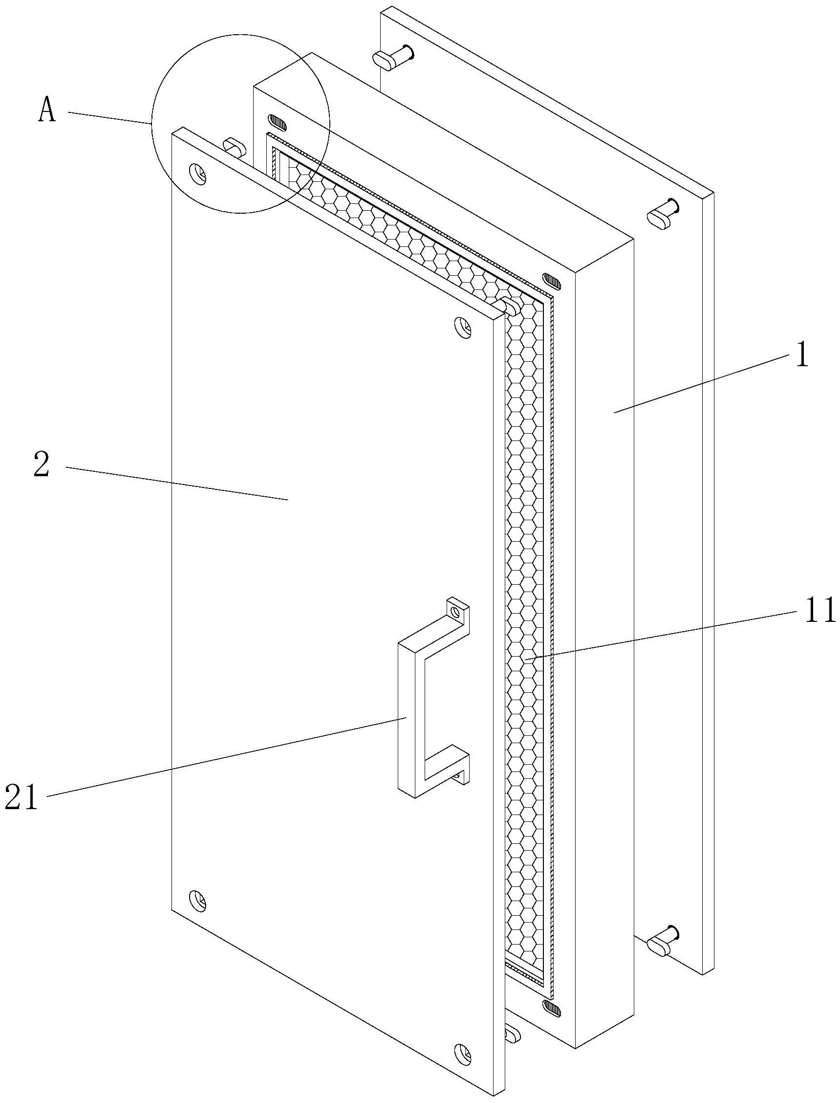
专利摘要:本实用新型公开了带有限位机构的门扇锁,包括操作机构和锁闭机构,操作机构转动,驱动两端的锁闭机构同时伸出或者缩回,所述操作机构包括驱动杆,操作机构一侧设有电磁铁,电磁铁上铰接止动块,驱动杆靠近电磁铁的侧壁设有凸块,门扇锁闭,电磁铁吸合止动块,止动块前端抵接凸块,阻止锁闭机构缩回。电磁铁限位装置,可对解锁动作起到监控作用,允许时解锁,不允许时无法解锁,提高门扇锁闭状态的可靠性,提升列车运营安全性。

图片来源于网络,如有侵权,请联系删除
今年以来康尼机电新获得专利授权35个,较去年同期增加了12.9%。结合公司2024年年报财务数据,2024年公司在研发方面投入了3.45亿元,同比增16.55%。

图片来源于网络,如有侵权,请联系删除
数据来源:天眼查APP
以上内容为证券之星据公开信息整理,由AI算法生成(网信算备310104345710301240019号),不构成投资建议。