格力电器获得发明专利授权:“一种医用雾化器及其控制方法”
76240
2025月04月16日
证券之星消息,根据天眼查APP数据显示格力电器(000651)新获得一项发明专利授权,专利名为“一种医用雾化器及其控制方法”,专利申请号为CN202211325704.7,授权日为2025年4月15日。

图片来源于网络,如有侵权,请联系删除
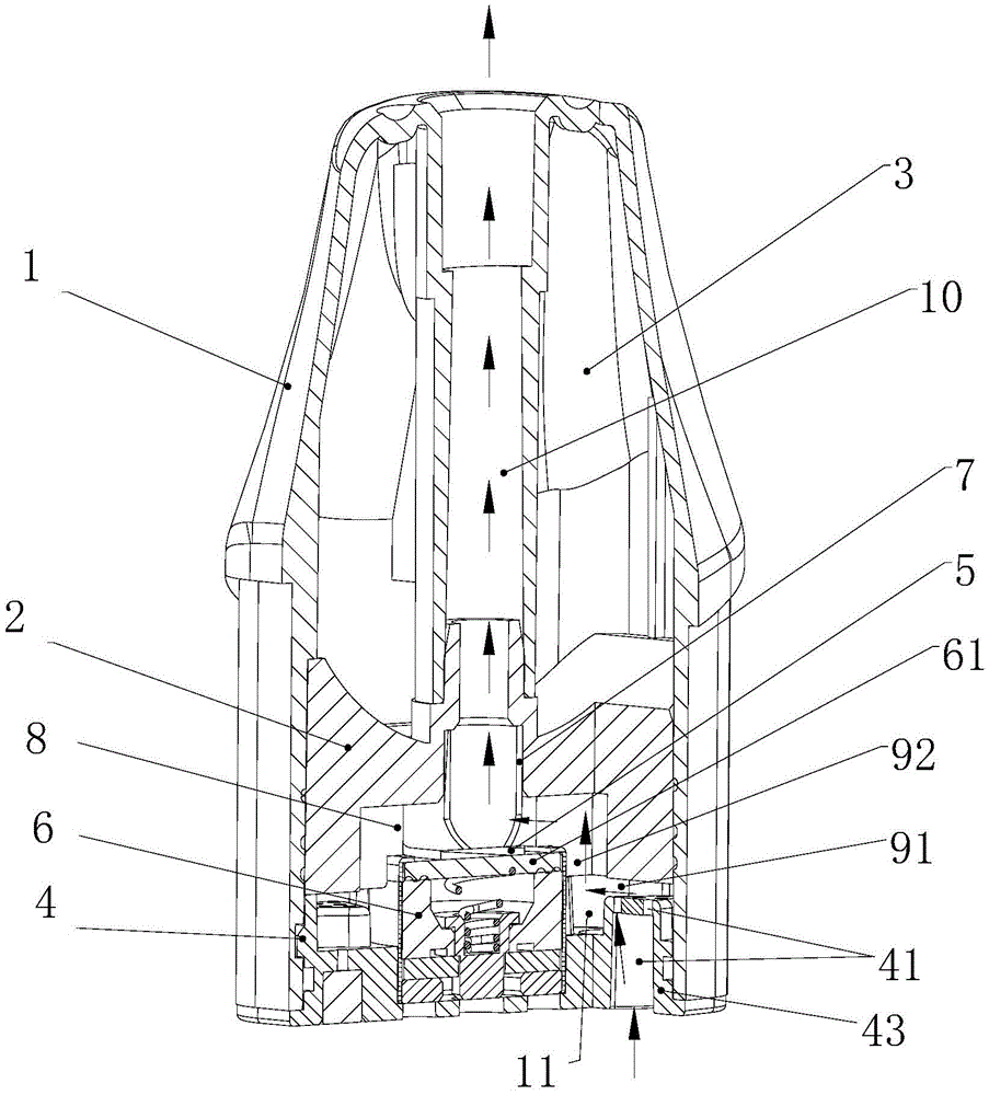
专利摘要:本发明公开了一种医用雾化器及其控制方法,该医用雾化器包括:壳体,设置有药液盒,所述药液盒的前端设置有雾化嘴,所述药液盒上设置有开口,所述药液盒通过所述开口与所述雾化嘴连通;雾化片,设置在所述开口处;第一液体传感器,设置在所述雾化片上;水泵,设置在所述药液盒中;所述水泵与所述第一液体传感器通信连接;所述水泵的进水端与所述药液盒连通,所述水泵的出水端通过导水管对准所述雾化片。如此设置,当用户使用医用雾化器向左右倾斜或向后倾斜时,第一液体传感器会检测到雾化片上没有药液,从而可以通过水泵向雾化片上输送药液,保证雾化片的正常工作。这样的话,可以让用户在各种姿势时均可以使用,提高了用户的使用体验。

图片来源于网络,如有侵权,请联系删除
今年以来格力电器新获得专利授权1692个,较去年同期减少了2.31%。结合公司2024年中报财务数据,2024上半年公司在研发方面投入了35.32亿元,同比减0.35%。

图片来源于网络,如有侵权,请联系删除
数据来源:天眼查APP
以上内容为证券之星据公开信息整理,由智能算法生成(网信算备310104345710301240019号),不构成投资建议。