长电科技获得实用新型专利授权:“镀层氧化物清洗装置”
70756
2025月04月01日
证券之星消息,根据天眼查APP数据显示长电科技(600584)新获得一项实用新型专利授权,专利名为“镀层氧化物清洗装置”,专利申请号为CN202421238978.7,授权日为2025年4月1日。

图片来源于网络,如有侵权,请联系删除
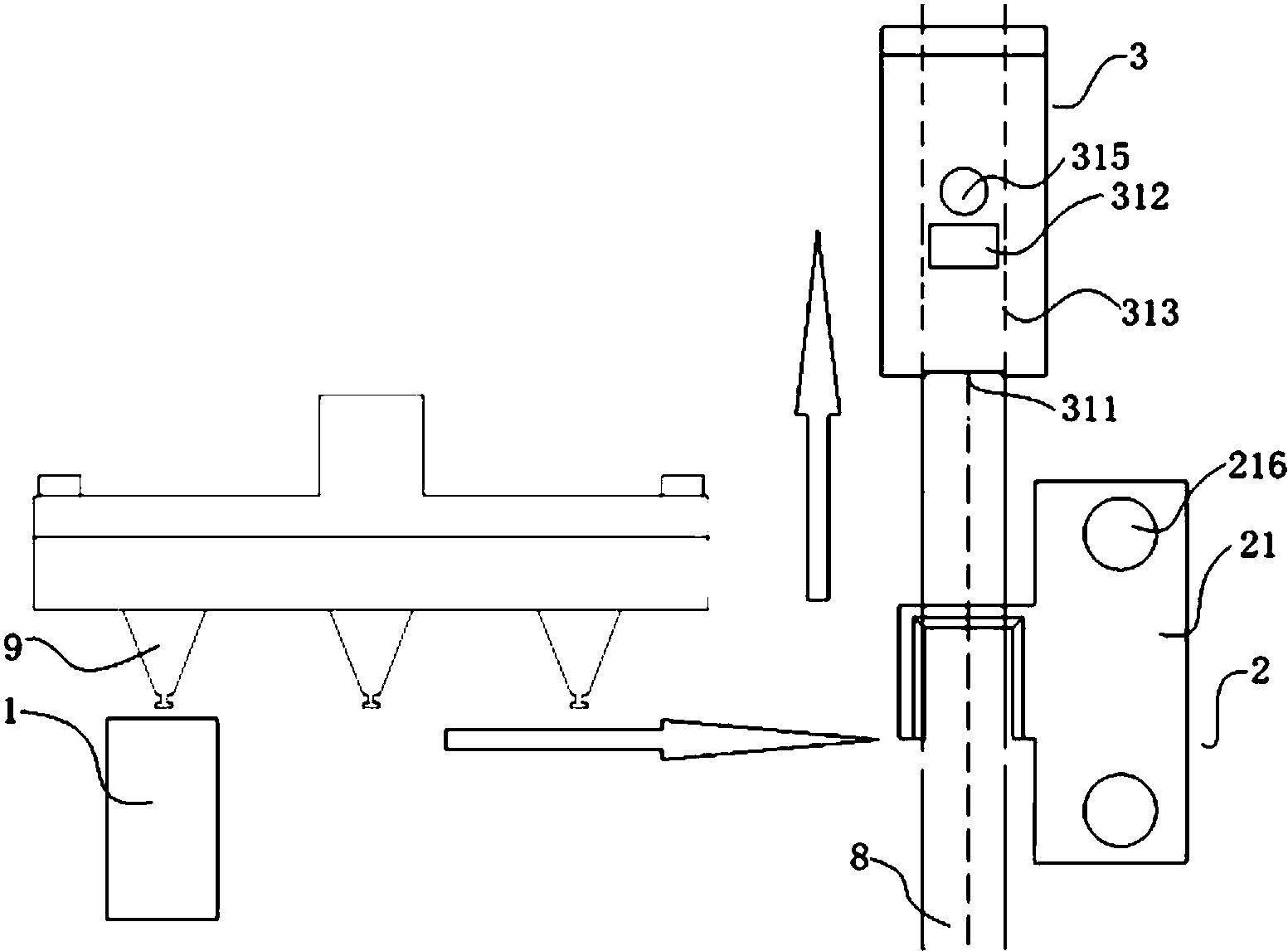
专利摘要:本实用新型涉及一种镀层氧化物清洗装置。所述镀层氧化物清洗装置包括:清洗机构,包括清洗槽,所述清洗槽用于容纳清洗剂,所述清洗剂用于清洗半导体产品中的镀层氧化物;水洗机构,包括水洗槽,所述水洗槽用于容纳去离子水,所述去离子水用于清洗所述半导体产品上残留的所述清洗剂;脱水机构,包括脱水槽,所述脱水槽用于容纳脱水剂,所述脱水剂用于去除所述半导体产品上残留的所述去离子水;控制机构,连接所述清洗机构、所述水洗机构和所述脱水机构,所述控制机构至少用于控制所述半导体产品在所述清洗槽内的清洗时间。本实用新型有助于提高镀层氧化物的清洗效率,并改善镀层氧化物的清洗效果。

图片来源于网络,如有侵权,请联系删除
今年以来长电科技新获得专利授权16个,较去年同期增加了433.33%。结合公司2024年中报财务数据,2024上半年公司在研发方面投入了8.19亿元,同比增22.38%。

图片来源于网络,如有侵权,请联系删除
数据来源:天眼查APP
以上内容为证券之星据公开信息整理,由智能算法生成(网信算备310104345710301240019号),不构成投资建议。