中国石油获得发明专利授权:“电动机底座结构”
54720
2025月03月26日
证券之星消息,根据天眼查APP数据显示中国石油(601857)新获得一项发明专利授权,专利名为“电动机底座结构”,专利申请号为CN202011195835.9,授权日为2025年3月25日。

图片来源于网络,如有侵权,请联系删除
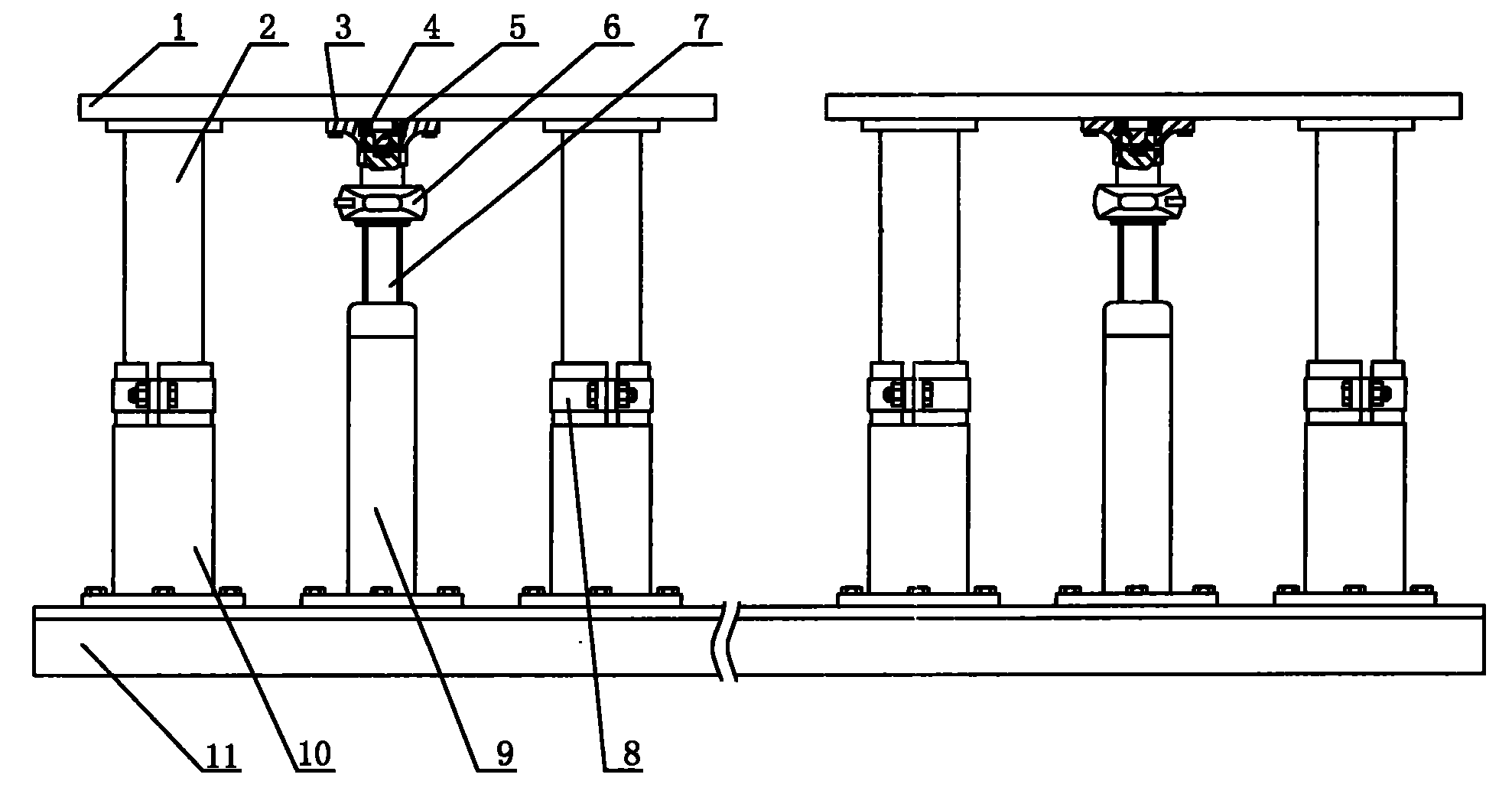
专利摘要:本发明公开了一种电动机底座结构,属于水泵配件技术领域。电动机底座结构包括方管壳体、第一千斤顶、调节板和固定座;第一千斤顶的升降面上设有万向球;方管壳体放置在固定座上,方管壳体的下板上开设有第一通孔,第一千斤顶的底座端顶住方管壳体的上板,万向球穿过第一通孔顶住固定座;调节板位于上板上侧,并能相对于方管壳体移动,调节板上具有适于与电动机相连接的结构。电动机底座结构被配置为:调节板上承载有电动机时,通过第一千斤顶将方管壳体顶起,使电动机与基座脱离,从而电动机能相对于基座移动。本发明公开的电动机底座使得易于进行移动电动机的操作。
今年以来中国石油新获得专利授权328个,较去年同期减少了31.38%。结合公司2024年中报财务数据,2024上半年公司在研发方面投入了96.57亿元,同比增0.06%。
数据来源:天眼查APP
以上内容为证券之星据公开信息整理,由智能算法生成(网信算备310104345710301240019号),不构成投资建议。