中国石化获得发明专利授权:“从富氦气体中提纯氦气的方法和系统”
57115
2025月06月07日
证券之星消息,根据天眼查APP数据显示中国石化(600028)新获得一项发明专利授权,专利名为“从富氦气体中提纯氦气的方法和系统”,专利申请号为CN202111130966.3,授权日为2025年6月6日。

图片来源于网络,如有侵权,请联系删除
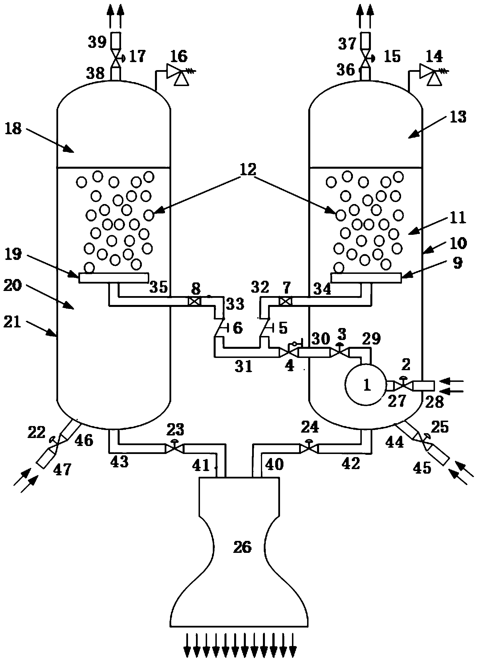
专利摘要:本发明涉及氦气提纯技术领域,具体公开了一种从富氦气体中提纯氦气的方法和系统。本发明提供的方法包括以下步骤:(1)将富氦气体与氧气接触使得富氦气体中的氢气与氧气进行反应,得到催化脱氢后的气体;(2)在金属氧化物的存在下,将所述催化脱氢后的气体进行化学脱氢,得到化学脱氢后的气体;(3)将所述化学脱氢后的气体依次进行深冷分离、膜分离和变压吸附,得到超纯氦气。本发明将贵金属催化脱氢分离(氢气和氧气发生反应)、化学脱氢(氢气在高温下与金属氧化物进行反应)、深冷分离、膜分离、变压吸附等工艺进行高效融合,具有能耗低、投资成本低、运行稳定、条件温和等优势,解决了氦气提纯的难题,具有广阔的应用前景。

图片来源于网络,如有侵权,请联系删除
今年以来中国石化新获得专利授权1355个,较去年同期减少了44.51%。结合公司2024年年报财务数据,2024年公司在研发方面投入了152.15亿元,同比增8.92%。

图片来源于网络,如有侵权,请联系删除
数据来源:天眼查APP
以上内容为证券之星据公开信息整理,由AI算法生成(网信算备310104345710301240019号),不构成投资建议。