格力电器获得发明专利授权:“管件包装结构、室外机包装结构及空调器”
证券之星消息,根据天眼查APP数据显示格力电器(000651)新获得一项发明专利授权,专利名为“管件包装结构、室外机包装结构及空调器”,专利申请号为CN202011505537.5,授权日为2025年9月2日。

图片来源于网络,如有侵权,请联系删除
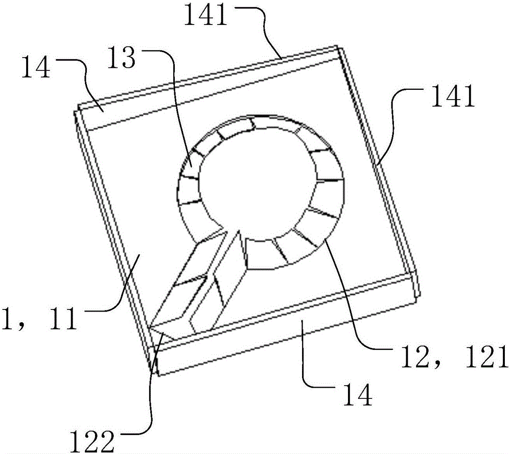
专利摘要:本公开提供一种管件包装结构、室外机包装结构及空调器,管件包装结构包括:连接管件,连接管件盘成环形状态;衬板件;衬板件上设有放置部,放置部被配置为放置连接管件,连接管件贴紧衬板件,衬板件对连接管件进行限位。本公开的管件包装结构,解决了相关技术中,室外机的管件包装效率低、可靠性差的问题,将连接管件盘成环形状态后,通过衬板件与放置部实现连接管件的放置和限位,将管件固定在衬板件上,效率高,可靠性高,在室外机的打包过程中,只需将衬板件置于室外机包装箱内,方便可靠。室外机的运输和堆垛过程中,管件不易脱落、遗失,杜绝配件遗失,降低售后投诉风险。

图片来源于网络,如有侵权,请联系删除
今年以来格力电器新获得专利授权4824个,较去年同期减少了1.49%。结合公司2025年中报财务数据,今年上半年公司在研发方面投入了39.18亿元,同比增10.92%。
通过天眼查大数据分析,珠海格力电器股份有限公司共对外投资了101家企业,参与招投标项目29559次;财产线索方面有商标信息8151条,专利信息116175条,著作权信息297条;此外企业还拥有行政许可842个。
数据来源:天眼查APP
以上内容为证券之星据公开信息整理,由AI算法生成(网信算备310104345710301240019号),不构成投资建议。