中科飞测获得发明专利授权:“一种晶圆明暗场缺陷检测装置”
64560
2025月08月06日
证券之星消息,根据天眼查APP数据显示中科飞测(688361)新获得一项发明专利授权,专利名为“一种晶圆明暗场缺陷检测装置”,专利申请号为CN202510394124.0,授权日为2025年8月5日。

图片来源于网络,如有侵权,请联系删除
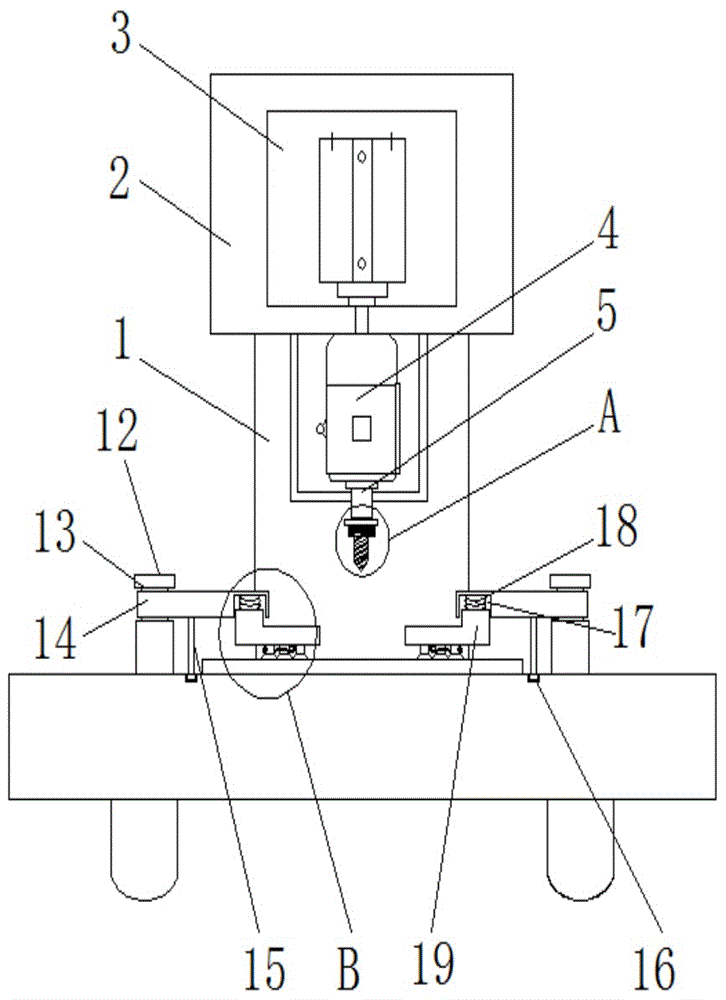
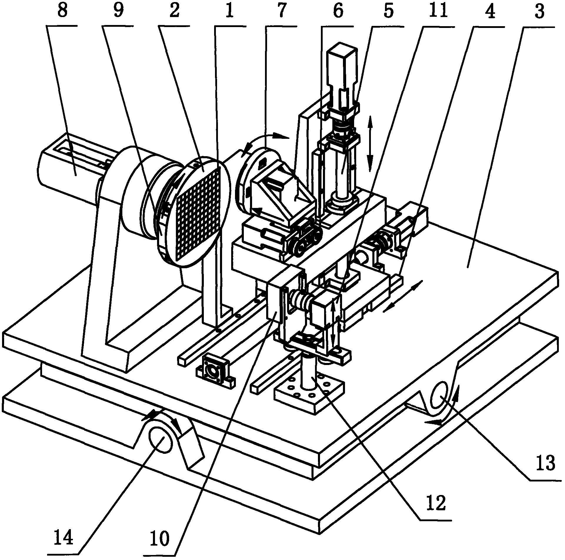
专利摘要:本申请提供的一种晶圆明暗场缺陷检测装置,设置有多个倍率的物镜,可根据检测精度的需求而灵活切换这些物镜,实现高检测精度低检测速度与低检测精度高检测速度的切换;且在暗场光源端精确配置暗场照明光束,使暗场照明光斑覆盖所需多个物镜倍率下暗场探测器对应的采集视场,通过有效控制暗场照明光斑区域避免明暗场采集视场的串扰。

图片来源于网络,如有侵权,请联系删除
今年以来中科飞测新获得专利授权52个,较去年同期减少了40.23%。结合公司2024年年报财务数据,2024年公司在研发方面投入了4.98亿元,同比增118.17%。

图片来源于网络,如有侵权,请联系删除
通过天眼查大数据分析,深圳中科飞测科技股份有限公司共对外投资了12家企业,参与招投标项目263次;财产线索方面有商标信息332条,专利信息993条,著作权信息35条;此外企业还拥有行政许可39个。
数据来源:天眼查APP
以上内容为证券之星据公开信息整理,由AI算法生成(网信算备310104345710301240019号),不构成投资建议。