德龙激光获得实用新型专利授权:“倒置吸附激光加工台”
69825
2025月06月24日
证券之星消息,根据天眼查APP数据显示德龙激光(688170)新获得一项实用新型专利授权,专利名为“倒置吸附激光加工台”,专利申请号为CN202422162269.1,授权日为2025年6月24日。

图片来源于网络,如有侵权,请联系删除
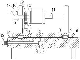
专利摘要:本实用新型涉及一种倒置吸附激光加工台,包括移动模组、吸附组件和激光切割头,吸附组件安装在移动模组上,在吸附组件的上方设置有激光切割头;吸附组件从上往下依次包括吸附板和底板,吸附板通过若干个支撑结构安装在底板上,且吸附板与底板之间设置有间隙。本实用新型将产品倒置吸附,单颗切割后直接掉落收集,不影响剩余部分切割,不影响其他颗粒位置精度。
今年以来德龙激光新获得专利授权19个,较去年同期增加了18.75%。结合公司2024年年报财务数据,2024年公司在研发方面投入了1.3亿元,同比增25.78%。
通过天眼查大数据分析,苏州德龙激光股份有限公司共对外投资了11家企业,参与招投标项目285次;财产线索方面有商标信息20条,专利信息570条,著作权信息147条;此外企业还拥有行政许可5个。
数据来源:天眼查APP
以上内容为证券之星据公开信息整理,由AI算法生成(网信算备310104345710301240019号),不构成投资建议。