格力电器获得实用新型专利授权:“码垛机和生产线”
证券之星消息,根据天眼查APP数据显示格力电器(000651)新获得一项实用新型专利授权,专利名为“码垛机和生产线”,专利申请号为CN202421686532.0,授权日为2025年4月15日。

图片来源于网络,如有侵权,请联系删除
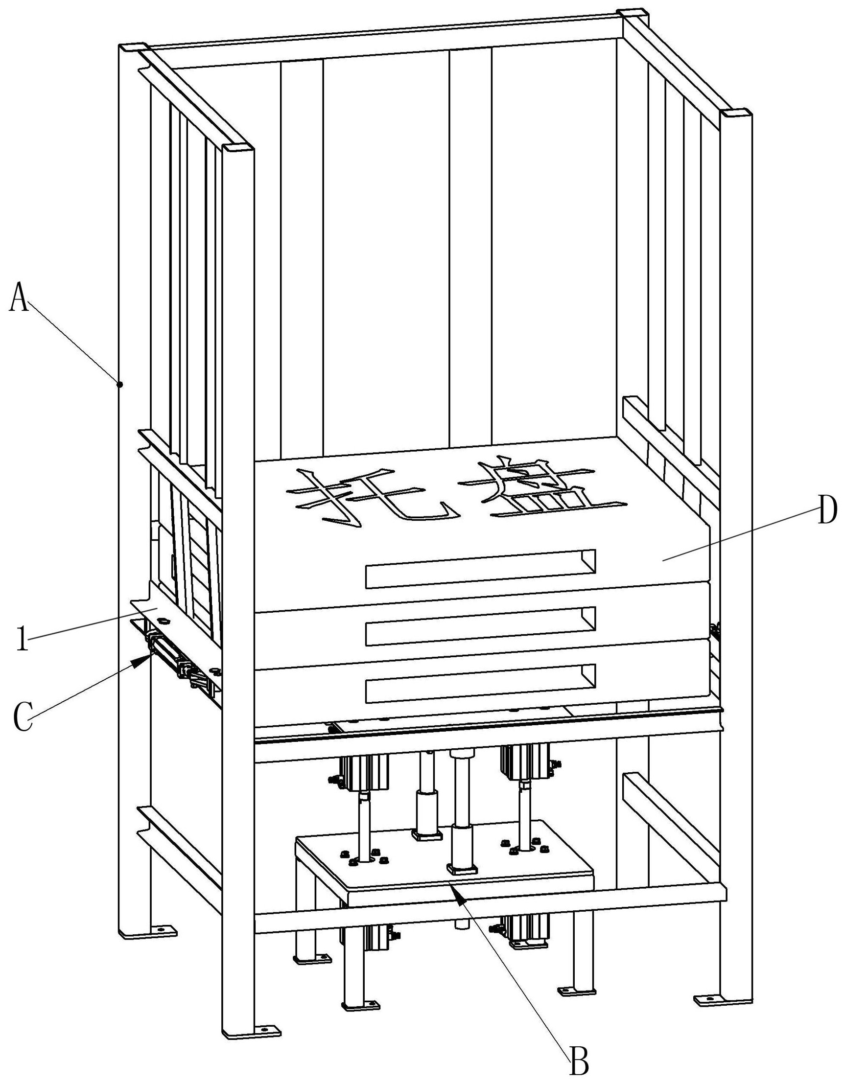
专利摘要:本实用新型提供一种码垛机和生产线,码垛机包括固定框架、移动框架、托底支架和摆动组件,固定框架内设有产品堆叠位和产品举升位,固定框架上设置有迫推件,移动框架与固定框架在竖直方向上滑动配合,托底支架与移动框架转动连接,托底支架上方形成产品放置位,产品放置位的下方设有底部开口,托底支架能够绕第一转动轴线在关闭底部开口的关闭位置和打开底部开口的打开位置之间转动,摆动组件与移动框架转动连接。初始状态下,摆动组件与托底支架限位配合,托底支架保持在关闭位置;伴随着移动框架相对于固定框架沿着竖直方向向上移动,迫推件向摆动组件的顶部施加作用力,迫使摆动组件转动,摆动组件向托底支架施加作用力,解除摆动组件与托底支架之间的限位,托底支架绕第一转动轴线转动至打开位置。该码垛机可实现多层箱体码垛、结构简单、成本低且占地空间小。

图片来源于网络,如有侵权,请联系删除
今年以来格力电器新获得专利授权1692个,较去年同期减少了2.31%。结合公司2024年中报财务数据,2024上半年公司在研发方面投入了35.32亿元,同比减0.35%。

图片来源于网络,如有侵权,请联系删除
数据来源:天眼查APP
以上内容为证券之星据公开信息整理,由智能算法生成(网信算备310104345710301240019号),不构成投资建议。