格力电器获得发明专利授权:“一种压缩机及包括该压缩机的电器”
78352
2025月04月09日
证券之星消息,根据天眼查APP数据显示格力电器(000651)新获得一项发明专利授权,专利名为“一种压缩机及包括该压缩机的电器”,专利申请号为CN201910597506.8,授权日为2025年4月8日。

图片来源于网络,如有侵权,请联系删除
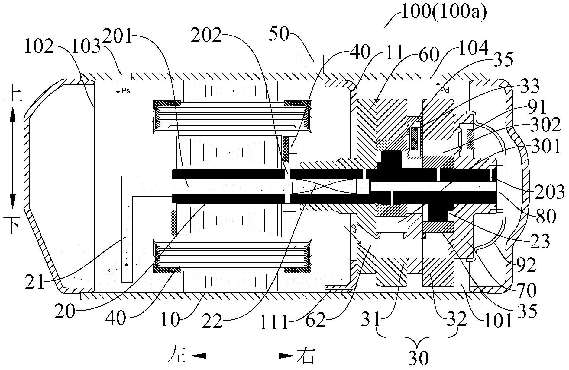
专利摘要:本发明公开了一种压缩机及包括该压缩机的电器,该压缩机包括设有排气通道的法兰和罩在所述排气通道上的消音器,所述消音器和所述法兰紧固连接,所述法兰上设有与所述压缩机的曲轴相配合的轴孔,所述消音器设置在所述轴孔的边侧位置。如此设置,消音器设置在曲轴的边侧位置,消音器的体型较小,易于与法兰装配,避免装配过程中消音器、法兰、气缸等因装配受力而变形,导致压缩机的泵体运转时零部件出现磨损、噪音、以及压缩机功耗高等问题。

图片来源于网络,如有侵权,请联系删除
今年以来格力电器新获得专利授权1512个,较去年同期减少了5.14%。结合公司2024年中报财务数据,2024上半年公司在研发方面投入了35.32亿元,同比减0.35%。
数据来源:天眼查APP
以上内容为证券之星据公开信息整理,由智能算法生成(网信算备310104345710301240019号),不构成投资建议。