奥特维获得实用新型专利授权:“一种料片缓存机构及料片输送装置”
65477
2025月04月01日
证券之星消息,根据天眼查APP数据显示奥特维(688516)新获得一项实用新型专利授权,专利名为“一种料片缓存机构及料片输送装置”,专利申请号为CN202420138422.4,授权日为2025年4月1日。

图片来源于网络,如有侵权,请联系删除
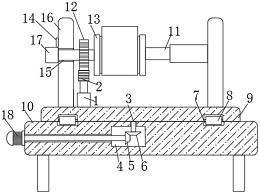
专利摘要:本申请公开一种料片缓存机构及料片输送装置,该料片缓存机构包括第一输送机构和存储部,第一输送机构包括输送带和吸附组件,输送带被配置为承载并输送料片,吸附组件设置在输送带的输送路径上,吸附组件的吸附面低于输送带的输送面,吸附组件被配置为向下吸附输送带上的料片,以增大料片与输送带之间的摩擦力;存储部设置在输送带的输送路径上,存储部包括升降机构和存片容器,升降机构被配置为驱动存片容器升降,存片容器包括沿高度方向设置的多个存片位,升降机构控制存片容器每次上升预设高度,以将吸附组件吸附的料片收纳在对应的存片位上。上述料片缓存机构能够使料片及时停止在对应存片位的装载位置,避免了输送惯性导致的撞片。

图片来源于网络,如有侵权,请联系删除
今年以来奥特维新获得专利授权59个,较去年同期减少了33.71%。结合公司2024年中报财务数据,2024上半年公司在研发方面投入了1.78亿元,同比增37.01%。
数据来源:天眼查APP
以上内容为证券之星据公开信息整理,由智能算法生成(网信算备310104345710301240019号),不构成投资建议。