鸿路钢构获得发明专利授权:“一种工业弧焊机器人交叉摆动装置及工艺”
证券之星消息,根据天眼查APP数据显示鸿路钢构(002541)新获得一项发明专利授权,专利名为“一种工业弧焊机器人交叉摆动装置及工艺”,专利申请号为CN202510160572.4,授权日为2026年2月27日。

图片来源于网络,如有侵权,请联系删除
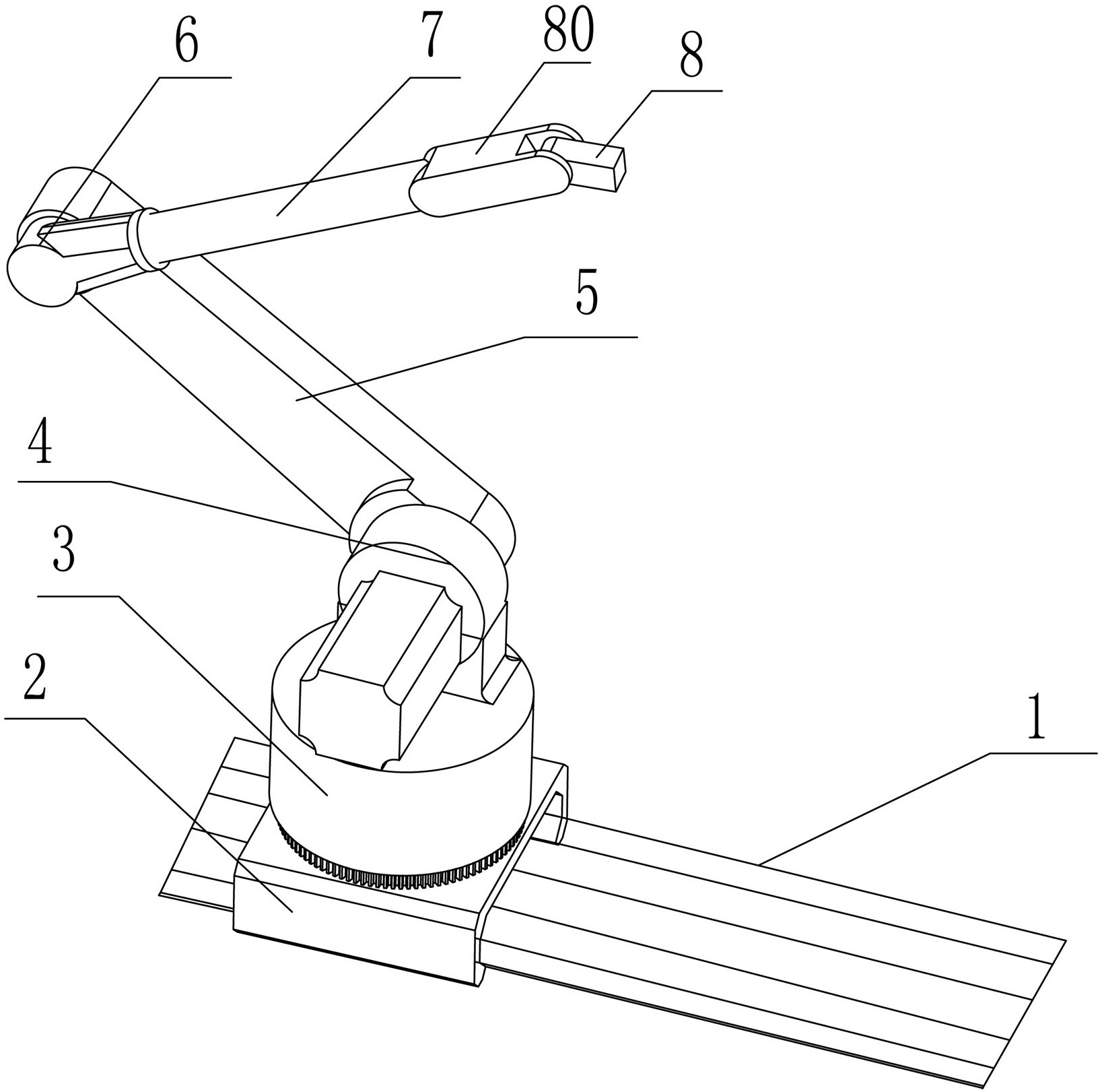
专利摘要:本发明公开了一种工业弧焊机器人交叉摆动装置及工艺,涉及弧焊技术领域,摆动装置包括弧焊机器人底座,弧焊机器人底座上布设若干组摆臂机构,两组相邻摆臂机构通过关节机构连接;末端摆臂机构处固定布设焊枪本体,焊枪本体的输出端设有焊丝,摆臂机构用于驱动焊枪本体沿着焊缝前进方向进行交叉左右角摆动运动;本发明可以有效地保证摆动过程中焊枪喷嘴及焊丝远离母材,防止焊丝竖直方向和母材的边缘接触造成炸丝断弧;通过改变焊枪朝向角度,可以将焊丝正对焊缝左右根部,增大左右根部的熔深及焊接强度,本发明定义摆动轨迹在X+、Y+以及Z+三个方向上的数学表达式,表达式可以用来精确控制机器人的移动,以实现高质量的焊缝摆动焊接。

图片来源于网络,如有侵权,请联系删除
今年以来鸿路钢构新获得专利授权2个,较去年同期增加了100%。结合公司2025年中报财务数据,2025上半年公司在研发方面投入了3.11亿元,同比减6.12%。
通过天眼查大数据分析,安徽鸿路钢结构(集团)股份有限公司共对外投资了47家企业,参与招投标项目514次;财产线索方面有商标信息42条,专利信息587条,著作权信息119条;此外企业还拥有行政许可26个。
数据来源:天眼查APP
以上内容为证券之星据公开信息整理,由AI算法生成(网信算备310104345710301240019号),不构成投资建议。