一致魔芋获得实用新型专利授权:“一种高效出渣的板式压滤机”
53708
2026月02月13日
证券之星消息,根据天眼查APP数据显示一致魔芋(920273)新获得一项实用新型专利授权,专利名为“一种高效出渣的板式压滤机”,专利申请号为CN202423279660.6,授权日为2026年2月13日。

图片来源于网络,如有侵权,请联系删除
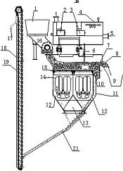
专利摘要:本实用新型公开了一种高效出渣的板式压滤机,包括压滤机本体,压滤机本体的支撑横梁上用于放置多个滤板,相邻滤板的两侧分别通过连接结构活动连接,支撑横梁上安装有顶升装置,顶升装置的数量与滤板的数量对应,各所述顶升装置的位置与各所述滤板展开时的位置相对应。通过设置连接结构,以便同时将各滤板展开,并通过在支撑横梁上安装的顶升装置,在各滤板展开后,通过顶升装置顶起滤板再放下,使滤板振动,从而方便的将滤板上的滤渣脱离。
今年以来一致魔芋新获得专利授权1个。结合公司2025年中报财务数据,2025上半年公司在研发方面投入了1342.25万元,同比增26.84%。
数据来源:天眼查APP
以上内容为证券之星据公开信息整理,由AI算法生成(网信算备310104345710301240019号),不构成投资建议。