兆威机电获得发明专利授权:“传动机构及清洁装置”
58705
2025月10月10日
证券之星消息,根据天眼查APP数据显示兆威机电(003021)新获得一项发明专利授权,专利名为“传动机构及清洁装置”,专利申请号为CN202111354902.1,授权日为2025年10月10日。

图片来源于网络,如有侵权,请联系删除
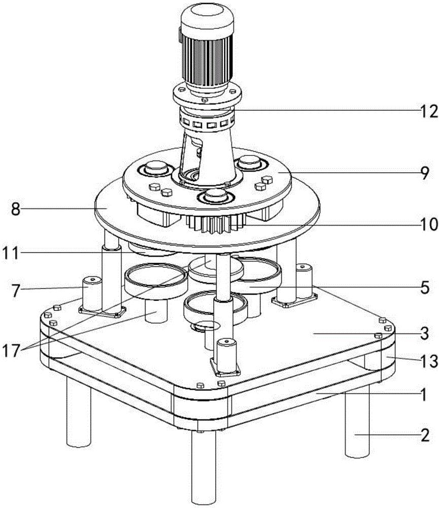
专利摘要:本发明涉及机械传动技术领域,提供一种传动机构及清洁装置,支撑架组件、驱动组件以及伸缩旋转组件。支撑架组件包括第一支撑平台;驱动组件包括传动轴;伸缩旋转组件包括转动件、齿轮以及限位件,转动件与限位件相适配;其中,当驱动组件的传动轴绕轴转动时,转动件在限位件的限位作用下进行直线移动和绕轴转动。该传动机构整体结构紧凑,结构更加简单,并且,传动轴与伸缩旋转组件之间通过啮合传动,可靠性更高,也能降低故障率。

图片来源于网络,如有侵权,请联系删除
今年以来兆威机电新获得专利授权47个,较去年同期减少了2.08%。结合公司2025年中报财务数据,今年上半年公司在研发方面投入了8140.08万元,同比增6.62%。
通过天眼查大数据分析,深圳市兆威机电股份有限公司共对外投资了8家企业,参与招投标项目23次;财产线索方面有商标信息143条,专利信息579条,著作权信息53条;此外企业还拥有行政许可53个。
数据来源:天眼查APP
以上内容为证券之星据公开信息整理,由AI算法生成(网信算备310104345710301240019号),不构成投资建议。