华懋科技获得实用新型专利授权:“一种一体式帘式气囊排版结构”
57459
2025月08月15日
证券之星消息,根据天眼查APP数据显示华懋科技(603306)新获得一项实用新型专利授权,专利名为“一种一体式帘式气囊排版结构”,专利申请号为CN202421789876.4,授权日为2025年8月15日。

图片来源于网络,如有侵权,请联系删除
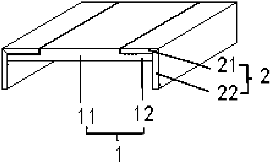
专利摘要:本实用新型提供了一种一体式帘式气囊排版结构,涉及气囊生产技术领域。包括若干个气囊袋,所述气囊袋包括分别设置在袋体相对的两侧的凸起部位进气口与非功能区凹槽;若干所述气囊袋竖直且同向排列成若干列,所述气囊袋的凸起部位进气口插入相邻列的所述气囊袋的非功能区凹槽内,以减少相邻气囊袋之间产生的空隙,进而能在可织造幅宽内排版更多数量的气囊袋。通过本方案可以节省原材料,提高气囊袋的生产效率。

图片来源于网络,如有侵权,请联系删除
今年以来华懋科技新获得专利授权19个,较去年同期增加了18.75%。结合公司2024年年报财务数据,2024年公司在研发方面投入了1.02亿元,同比增6.44%。

图片来源于网络,如有侵权,请联系删除
通过天眼查大数据分析,华懋(厦门)新材料科技股份有限公司共对外投资了6家企业,参与招投标项目28次;财产线索方面有商标信息48条,专利信息170条;此外企业还拥有行政许可43个。
数据来源:天眼查APP
以上内容为证券之星据公开信息整理,由AI算法生成(网信算备310104345710301240019号),不构成投资建议。