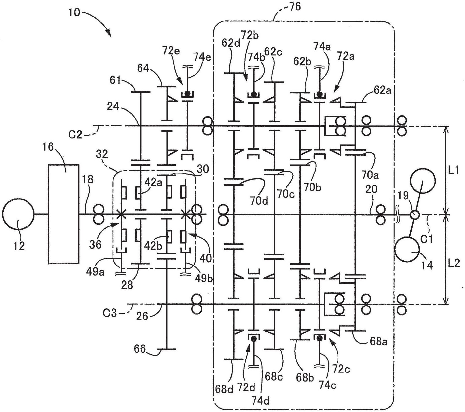
春风动力公布国际专利申请:“无级变速器及使用该无级变速器的全地形车”

小微 小微
70693
2025月08月09日

证券之星消息,根据企查查数据显示春风动力(603129)公布了一项国际专利申请,专利名为“无级变速器及使用该无级变速器的全地形车”,专利申请号为PCT/CN2025/075812,国际公布日为2025年8月7日。

春风动力公布国际专利申请:“无级变速器及使用该无级变速器的全地形车”
图片来源于网络,如有侵权,请联系删除

专利详情如下:

春风动力公布国际专利申请:“无级变速器及使用该无级变速器的全地形车”
图片来源于网络,如有侵权,请联系删除

图片来源:世界知识产权组织(WIPO)

春风动力公布国际专利申请:“无级变速器及使用该无级变速器的全地形车”
图片来源于网络,如有侵权,请联系删除

今年以来春风动力已公布的国际专利申请4个,较去年同期增加了100%。结合公司2024年年报财务数据,2024年公司在研发方面投入了10.26亿元,同比增11%。

数据来源:企查查

以上内容为证券之星据公开信息整理,由AI算法生成(网信算备310104345710301240019号),不构成投资建议。

其他相关 RELEVANT MATERIAL
瞄准万亿级市场!七部门联合印发《推动工业领域设备更新实施方案》

瞄准万亿级市场!七部门联合印发《推动工业领域设备更新实施方案》

4月9日,工信部等七部门印发《推动工业领域设备更新实施方案》(下称《方案》),围绕推进新型工业化,以大规模设备更新为抓手,实施制造业技术改造升级工程,以数字化转型和绿色化升级为重点,推动制造业高端化、智能化、绿色化发展,为发展新质生产力,提高国民经济循环质量和水平提供有力支撑。图片来源于网络,如有侵权,请联系删除 《方案》提出,到2027年,工业领域设备投资规模较2023年增长25%以上,规模以上工业企业数字化研发设计工具普及率、关键工序数控化率分别超过90%、75%,工业大省大市和重点园区规上工业企业数字化改造全覆盖,重点行业能效基准水平以下产能基本退出、主要用能设备能效基本达到节能水平,本质安全水平明显提升,创新产品加快推广应用,先进产能比重持续提高。图片来源于网络,如有侵权,请联系删除 鼓励航空、光伏、动力电池领域相关企业更新高端先进设备图片来源于网络,如有侵权,请联系删除 《方案》指出,实施先进设备更新行动。加快落后低效设备替代,针对工业母机、农机、工程机械、电动自行车等生产设备整体处于中低水平的行业,加快淘汰落后低效设备、超期服役老旧设备。 做好升级高端先进设备更新工作,针对航空、光伏、动力电池、生物发酵等生产设备整体处于中高水平的行业,鼓励企业更新一批高技术、高效率、高可靠性的先进设备。 具体来看,重点推动航空行业全面开展大飞机、大型水陆两栖飞机及航空发动机总装集成能力、供应链配套能力等建设;光伏行业更新大热场单晶炉、高线速小轴距多线切割机、多合一镀膜设备、大尺寸多主栅组件串焊机等先进设备;动力电池行业生产设备向高精度、高速度、高可靠性升级,重点更新超声波焊接机、激光焊接机、注液机、分容柜等设备;生物发酵行业实施萃取提取工艺技改,更新蒸发器、离心机、新型干燥系统、连续离子交换设备等。 同时,更新升级试验检测设备,在石化化工、医药、船舶、电子等重点行业,围绕设计验证、测试验证、工艺验证等中试验证和检验检测环节,更新一批先进设备,提升工程化和产业化能力。 中国信息通信研究院院长余晓晖表示,2023年末,我国规模以上工业企业资产已经超过167万亿元,多种关键设备保有量全球领先,如工业机器人保有量占全球三分之一,新增装机量超过全球总量的一半。 3月5日,国家发改委主任郑栅洁在十四届全国人大二次会议经济主题记者会上表示,随着高质量发展的深入推进,设备更新的需求会不断扩大,初步估算这是一个5万亿元以上的巨大市场。 中国电子信息产业发展研究院规划所工业投资研究室主任樊蒙此前在接受媒体采访时表示,通过历史数据推算,我国工业设备投资约占全社会设备投资的70%以上,是设备更新的重要力量。据此估算,我国工业领域设备更新年规模约在4万亿元左右。 引导上下游企业协同打造智慧供应链 在实施数字化转型行动方面,《方案》提出,推广应用智能制造装备,推动数控机床与基础制造装备、增材制造装备、工业机器人、工业控制装备、智能物流装备、传感与检测装备等通用智能制造装备更新。 重点推动装备制造业更新面向特定场景的智能成套生产线和柔性生产单元;电子信息制造业推进电子产品专用智能制造装备与自动化装配线集成应用;原材料制造业加快无人运输车辆等新型智能装备部署应用,推进催化裂化、冶炼等重大工艺装备智能化改造升级;消费品制造业推广面向柔性生产、个性化定制等新模式智能装备。 加快建设智能工厂,推动人工智能、第五代移动通信(5G)、边缘计算等新技术在制造环节深度应用,形成一批虚拟试验与调试、工艺数字化设计、智能在线检测等典型场景。充分发挥工业互联网标识解析体系作用,引导龙头企业带动上下游企业同步改造,打造智慧供应链。 同时,还要加强数字基础设施建设,加快工业互联网、物联网、5G、千兆光网等新型网络基础设施规模化部署,鼓励工业企业内外网改造。构建工业基础算力资源和应用能力融合体系,加快部署工业边缘数据中心,建设面向特定场景的边缘计算设施,推动“云边端”算力协同发展。加大高性能智算供给,在算力枢纽节点建设智算中心。 《方案》指出,要实施绿色装备推广行动,推动重点用能行业、重点环节推广应用节能环保绿色装备。钢铁行业加快对现有高炉、转炉、电炉等全流程开展超低排放改造;有色金属行业加快高效稳定铝电解、绿色环保铜冶炼、再生金属冶炼等绿色高效环保装备更新改造;家电等重点轻工行业加快二级及以上高能效设备更新。 设立科技创新和技术改造专项再贷款 为保障相关政策举措有效实施,《方案》提出,加大工业领域设备更新和技术改造财政支持力度,将符合条件的重点项目纳入中央预算内投资等资金支持范围。加大对节能节水、环境保护、安全生产专用设备税收优惠支持力度,把数字化智能化改造纳入优惠范围。 事实上,为鼓励企业加大设备、器具投资力度,2018年开始,我国对企业新购进的设备、器具,单位价值不超过500万元的...
人保服务 ,人保车险_碳纤维行业报告 碳纤维行业相关政策、市场壁垒及发展前景

人保服务 ,人保车险_碳纤维行业报告 碳纤维行业相关政策、市场壁垒及发展前景

碳纤维行业报告 碳纤维行业相关政策、市场壁垒及发展前景 2024年4月18日 来源:互联网 362 16 碳纤维被称为材料领域的“黑色黄金”,是一种比重不到钢的1/4,而抗拉强度是钢的7-9倍,同时还具有轻质、高强度、高弹性模量、耐高低温、耐腐蚀、疲劳等优异特性的新型材料,通常与树脂、金属、陶瓷等复合后形成碳纤维复合材料。图片来源于网络,如有侵权,请联系删除 碳纤维被称为材料领域的“黑色黄金”,是一种比重不到钢的1/4,而抗拉强度是钢的7-9倍,同时还具有轻质、高强度、高弹性模量、耐高低温、耐腐蚀、疲劳等优异特性的新型材料,通常与树脂、金属、陶瓷等复合后形成碳纤维复合材料。图片来源于网络,如有侵权,请联系删除 碳纤维在各种工业领域中的应用非常广泛,如风光发电、交通工具、航空航天、压力容器、氢能利用等重点领域都有它的身影。根据赛奥碳纤维《全球碳纤维复合材料市场报告》显示,2022年全球碳纤维市场需求量为13.5万吨,同比增长14.4%;市场规模43.86亿美元,同比增长29%。 统计显示,2022年中国市场碳纤维需求总量为74429吨,其中国产碳纤维供应量为45000吨,占比达60%。 碳纤维行业相关政策 《中华人民共和国国民经济和社会发展第十四个五年规划和2035年远景目标纲要》要求加强碳纤维及其复合材料的研发应用,为未来碳纤维行业的技术进步提供了良好的政策环境。 《关于扩大战略性新兴产业投资培育壮大新增长点增长极的指导意见》要求聚焦重点产业投资领域,围绕保障大飞机等重点领域供应链稳定,加快在高性能纤维材料等领域实现突破。 完整的碳纤维产业链包含从一次能源到终端应用的完整制造过程。碳纤维产业链上游主要以石油化工行业为主,通过原油炼制、裂解、氨氧化等工序获得丙烯腈:碳纤维企业通过对以丙烯腈为主的原材料进行聚合反应生成聚丙烯腈,再以其纺丝获得聚丙烯腈原丝,对原丝进行预氧化、碳化等工艺制得碳纤维。 碳纤维属于技术密集型、资金密集型产业,产业链长,工艺技术复杂,产业发展涉及产、学、研、用各个环节,研发周期长,资金投入量大,行业技术壁垒高,各应用领域工作环境的差异对产品要求不同,尤其航空航天等高端应用对产品性能及质量稳定性有非常苛刻的要求。 此外,碳纤维复杂的工艺流程、高额的研发投入以及较长的研发、产业化周期,使得国际上真正具有研发和生产能力的公司屈指可数,相对于国外先进的碳纤维生产商,国内碳纤维产业化技术人员、生产工艺和设备装置跟国际水平相比存有差距,存在一定新产品开发风险。 根据中研普华产业研究院发布的显示: 碳纤维下游应用技术的开发难度较高,作为复合材料基体和增强体的树脂和碳纤维需要有系统的数据库做支撑,复合材料设计、成型、制造工艺和装备能力需要匹配衔接,应用开发需要较长的研发过程,加之研发投入高、生产成本高,导致碳纤维应用范围长期受到局限,碳纤维及其复合材料行业的发展已经成为衡量材料技术水平和装备制造能力的重要标志之一。 碳纤维行业发展前景 碳纤维复材具备质量轻、强度高、耐腐蚀等优势,其在航空航天领域应用时间已久。2023年全球碳纤维需求合计11.5万吨,其中19.1%来自于航空航天军工领域。在供给领域,全球碳纤维运行产能29万吨,同比增加3.2万吨,增幅12.3%。分企业来看,2022年全球前十大碳纤维生产企业中中国企业占据4席(吉林化纤、中复神鹰、新创碳谷与宝旌碳纤),合计占全球运行产能47.7%。 在生产设备方面,美国和日本企业占据高端市场的大部分份额。由于其研发较早,工艺技术完备,生产的碳纤维无论质量还是数量上均处于世界领先地位。在原丝、中间体和制品方面,日本东丽公司是行业的领头羊。 近年来,我国碳纤维的国产化率快速提升,从2016年的18.41%提升至2022年的50%以上。随着国内技术进步,高性能碳纤维的国产替代空间将进一步打开,从而摆脱对进口的依赖。 作为轻质、高强的碳纤维材料具有出色的轻量化、减排、环保功能,是碳达峰、碳中和进程中重要的材料选项之一,在绿色能源发展如风电领域的叶片制造、太阳能领域硅片生产的热场材料、氢能领域的储运装备等应用领域有着明显的技术性能优势和良好的发展前景。 在激烈的市场竞争中,企业及投资者能否做出适时有效的市场决策是制胜的关键。报告准确把握行业未被满足的市场需求和趋势,有效规避行业投资风险,更有效率地巩固或者拓展相应的战略性目标市场,牢牢把握行业竞争的主动权。 更多行业详情请点击中研普华产业研究院发布的。 关注公众号 免费获取更多报告节选 免费咨询行业专家 ...
2024年航空航天紧固件行业发展环境分析及市场展望_拥有“如意行”驾乘险,出行更顺畅!,人保财险

2024年航空航天紧固件行业发展环境分析及市场展望_拥有“如意行”驾乘险,出行更顺畅!,人保财险

拥有“如意行”驾乘险,出行更顺畅!,人保财险 _2024年航空航天紧固件行业发展环境分析及市场展望 2024年4月25日 来源:中研普华报告 百度 685 40 据民航局消息,2024年一季度,民航运输生产开局良好,旅客运输量和货邮运输量均创下历年一季度最高值。旅游业的发展,商用飞机需求不断上升是全球航空航天紧固件市场增长的主要原因。而产业化程度越高,市场越严格,紧固件质量要求和市场价值更高。图片来源于网络,如有侵权,请联系删除 随着航空航天工业的繁荣发展,有着“工业大米”之称的紧固件越来越受到航空航天产业上下游企业的重视。人们清醒地意识到看起来不起眼的紧固件其每一件零部件、每一件螺丝都会起到关键的作用。图片来源于网络,如有侵权,请联系删除 航空航天紧固件广泛应用于商用与军用飞机、弹道飞弹、火箭,同时亦会供应给售后维修市场。航空航天紧固件大致分为以下几类:螺栓、螺母、铆钉、垫圈和垫片等。 航空航天紧固件行业发展环境分析 据民航局消息,2024年一季度,民航运输生产开局良好,旅客运输量和货邮运输量均创下历年一季度最高值。全行业共完成运输总周转量349.3亿吨公里,同比增长45.6%,较2019年同期增长12.9%。其中,国内航线完成238.6亿吨公里,国际航线完成110.7亿吨公里。 客运方面,全行业一季度共完成旅客运输量接近1.8亿人次,为历年一季度客运量最高值,同比增长37.7%,较2019年同期增长10.2%。其中,国内航线完成1.6亿人次,规模较2019年同期增长14.3%;国际航线完成1412.0万人次,规模恢复至2019年同期的78.0%。 今年,民航将全面拉动航空市场需求,统筹扩大内需和供给侧结构性改革,力争完成运输总周转量、旅客运输量和货邮运输量1360亿吨公里、6.9亿人次和760万吨,同比分别增长约14%、11%和3%,为服务构建新发展格局作出新贡献。 目前,我国民用航空运输行业的替代品威胁较大,主要是由于我国高铁网路建设的不断完善,对行业形成了一定冲击。此外,由于全球的商用飞机制造行业属于寡头竞争状态,因此对于我国民用航空运输行业来说,上游议价能力较强。 2024年是旅游经济周期内转段和跨周期跃升的关键期,全年“供需两旺、积极乐观”可期,三大市场主要指标将保持两成以上增速,接近甚至超过2019年历史最高水平。 根据中国旅游研究院,预计2024年全年国内旅游人数将超过60亿人次,入出境旅游人数合计有望超过2.6亿人次。2023年,旅游市场和旅游产业链得到明显修复,全国国内旅游人数和收入同比增长超过1倍,恢复到2019年的八成以上;入出境旅游人数超过1.9亿人次,较上一年增长2.8倍以上。 据中研产业研究院分析: 旅游业的发展,商用飞机需求不断上升是全球航空航天紧固件市场增长的主要原因。而产业化程度越高,市场越严格,紧固件质量要求和市场价值更高。 紧固件,是作紧固连接用且应用极为广泛的一类机械零件。紧固件,使用行业广泛,包括能源、电子、电器、机械、化工、冶金、模具、液压等等行业,在各种机械、设备、车辆、船舶、铁路、桥梁、建筑、结构、工具、仪器、化工、仪表和用品等上面,都可以看到各式各样的紧固件,是应用最广泛的机械基础件。 它的特点是品种规格繁多,性能用途各异,而且标准化、系列化、通用化的程度也极高。因此,也有人把已有国家标准的一类紧固件称为标准紧固件,或简称为标准件。 紧固件行业上游主要包括原材料和紧固件生产设备,其中原材料包括钢材、铜和铝等有色金属以及塑料;紧固件生产设备包括冷镦机、热锻机等。紧固件行业中游为各种金属和塑料紧固件生产企业;下游应用范围广泛,包括汽车、机械、家电、建筑、轨道交通、船舶制造等。 航空航天紧固件市场展望 与汽车紧固件市场、电子和通信设备等工业用紧固件市场等相比,航空航天紧固件市场是附加值最高和价格最稳定的市场。为确保飞机的安全性和操作性,航空航天制造商不间断地投入资金进行技术革新与紧固件的升级,也对整个航空航天市场起到积极的推动作用。 当前我国众多企业生产的紧固件处于第一代的水平,只要解决连接问题,材料主要以碳素结构钢为主,强度低,结构大。而应用于汽车、核电、船舶等领域的高端紧固件处于第二代和第三代,材料科技含量高,强度、抗疲劳大大增强。应用于航空航天等的高端紧固件基本全部达到第三代水平,正逐步往第四代和第五代过渡。 报告在总结中国航空航天紧固件发展历程的基础上,结合新时期的各方面因素,对中国航空航天紧固件的发展趋势给予了细致和审慎的预测论证。报告资料详实,图表丰富,既有深入的分析,又有直观的比较,为航空航天紧固件企业在激烈的市场竞争中洞察先机,能...
杀菌涂料行业上下游市场分析及未来市场预测_人保伴您前行,人保护你周全

杀菌涂料行业上下游市场分析及未来市场预测_人保伴您前行,人保护你周全

人保伴您前行,人保护你周全_杀菌涂料行业上下游市场分析及未来市场预测 2024年4月25日 来源:互联网 401 19 杀菌涂料是一种特殊的涂料,其主要功能在于防止霉菌、细菌和其他微生物的生长。这类涂料通常是在常规的涂料基础上,添加了一定量的抗菌、杀菌剂,如银离子、铜离子等,这些抗菌剂能够有效地杀死或抑制涂料表面上的微生物。图片来源于网络,如有侵权,请联系删除 杀菌涂料是一种特殊的涂料,其主要功能在于防止霉菌、细菌和其他微生物的生长。这类涂料通常是在常规的涂料基础上,添加了一定量的抗菌、杀菌剂,如银离子、铜离子等,这些抗菌剂能够有效地杀死或抑制涂料表面上的微生物。图片来源于网络,如有侵权,请联系删除 使用杀菌涂料,可以有效地降低环境中的细菌污染,减少细菌和真菌的传播,从而降低感染风险,提高人们的安全和健康水平。图片来源于网络,如有侵权,请联系删除 杀菌涂料行业上下游市场分析 上游主要包括原料供应商和生产设备制造商。原料供应商提供生产杀菌涂料所需的各种原材料,如树脂、溶剂、颜料、填料以及关键的抗菌剂(如银离子、铜离子等)。这些原材料的质量和性能直接影响到杀菌涂料的最终效果和品质。生产设备制造商则提供涂料生产线所需的各类设备,包括搅拌设备、研磨设备、喷涂设备等,确保涂料的生产过程高效且稳定。 下游则主要是应用杀菌涂料的各个领域和行业。包括但不限于医院、食品加工厂、公共厕所、垃圾处理站等高卫生要求的场所,以及家庭环境、工业生产线、设备和仓储设施的表面涂层。 除了直接的应用领域,杀菌涂料行业还涉及到销售渠道和终端用户。涂料生产商通过经销商、建材市场、电商平台等渠道将产品销售给终端用户,包括建筑公司、装饰公司、家庭用户等。这些用户根据自身的需求和场景选择合适的杀菌涂料产品,用于改善和提升环境的卫生状况。 根据中研普华产业研究院发布的显示: 我国油漆涂料企业经历了从国外引进到模仿再到发展自主品牌的三大阶段。目前我国已成为世界上油漆涂料生产大国,同时也是一个重要的油漆涂料消费大国。2023年度,中国涂料工业总产量3,577.2万吨,较上年同期同比增长4.5%;表观消费量3,566.3万吨,较上年同期同比增长4.2%;主营业务收入4,044.8亿元,同比下降4.5%;利润总额237.4亿元,同比增长9.5%。 随着全球对卫生环境的关注度日益提升,特别是在医疗保健、食品加工和公共场所等领域,杀菌涂料的需求呈现稳步增长态势。尤其在当前全球面临各类传染病威胁的背景下,人们对于能够杀灭或抑制微生物生长的涂料产品的需求更加强烈。 从市场竞争格局来看,随着杀菌涂料市场的不断扩大,越来越多的企业开始进入这一领域,市场竞争日趋激烈。然而,由于杀菌涂料的技术门槛相对较高,需要企业在研发、生产和应用等方面具备一定的实力和经验,因此市场上的主导者往往是一些拥有技术优势和品牌优势的大中型企业。同时,随着技术的不断进步和市场的不断成熟,一些具有创新能力和市场敏锐度的中小企业也将逐渐崭露头角。 未来杀菌涂料市场将呈现出以下趋势:一是市场规模将持续扩大,但增长速度可能会逐渐放缓;二是市场竞争将更加激烈,但具有技术优势和品牌优势的企业将占据主导地位;三是应用领域将进一步拓宽,但不同领域的需求差异也将更加明显;四是政策法规和环保要求将对市场产生一定影响,企业需要加强合规意识和环保意识以应对挑战。 在激烈的市场竞争中,企业及投资者能否做出适时有效的市场决策是制胜的关键。报告准确把握行业未被满足的市场需求和趋势,有效规避行业投资风险,更有效率地巩固或者拓展相应的战略性目标市场,牢牢把握行业竞争的主动权。 杀菌涂料行业研究报告中的杀菌涂料行业数据分析以权威的国家统计数据为基础,采用宏观和微观相结合的分析方式,利用科学的统计分析方法,在描述行业概貌的同时,对杀菌涂料行业进行细化分析,包括产品总体状况、产品生产情况、重点企业状况、主要产品总产量、进出口情况等。 更多行业详情请点击中研普华产业研究院发布的。 关注公众号 免费获取更多报告节选 免费咨询行业专家 相关深度报告REPORTS 11224 2949 3749 4549 5374 6249 推荐阅读 随着全球经济的增长和消费者饮食结构的多元化,鱿鱼作为一种营养丰富、口感独特的食材,其市场需求不断增加。据统计,... ...
2024年中国模拟器行业的产业链上下游结构及发展趋势分析_人保车险   品牌优势——快速了解燃油汽车车险,保险有温度

2024年中国模拟器行业的产业链上下游结构及发展趋势分析_人保车险 品牌优势——快速了解燃油汽车车险,保险有温度

2024年中国模拟器行业的产业链上下游结构及发展趋势分析 2024年5月13日 来源:互联网 1389 91 模拟器是一种用于模拟真实环境或系统的计算机程序,常用于军事、航空、交通、工业等领域,也可用于电子游戏开发。在军事领域,模拟器可以用于模拟战场环境,帮助士兵进行战术训练和模拟演练;在航空领域,飞行模拟器可以模拟真实的飞行环境和飞行条件,用于飞行员的训练图片来源于网络,如有侵权,请联系删除 模拟器是一种用于模拟真实环境或系统的计算机程序,常用于军事、航空、交通、工业等领域,也可用于电子游戏开发。在军事领域,模拟器可以用于模拟战场环境,帮助士兵进行战术训练和模拟演练;在航空领域,飞行模拟器可以模拟真实的飞行环境和飞行条件,用于飞行员的训练和评估。此外,模拟器行业还涉及电池模拟器等特定类型的产品,用于电动汽车、储能行业和消费电子等领域。图片来源于网络,如有侵权,请联系删除 模拟器行业的供应链结构相对复杂,包括硬件设备供应商、软件开发商、系统集成商等多个环节。这些环节之间紧密相连,共同构成了模拟器行业的供应链体系。 随着全球化趋势的加强,模拟器行业将加强与国际市场的合作和交流。近年来,模拟器行业市场持续增长,受益于游戏、教育、航空等多个领域的强劲需求。模拟器产品的类型丰富多样,包括游戏模拟器、驾驶模拟器、飞行模拟器、教育模拟器等。随着技术的不断进步,模拟器产品的功能越来越强大,性能越来越稳定,能够满足不同领域的需求。 根据中研普华产业研究院发布的分析 模拟器行业的产业链上下游结构 硬件设备供应商是模拟器产业链的最上游,主要负责提供模拟器所需的硬件设备,如高性能计算机、显示器、传感器、输入设备(如手柄、操纵杆等)、音频设备以及特定领域的专业硬件(如飞行模拟器的驾驶舱部件、汽车模拟器的座椅和方向盘等)。 软件开发商负责开发模拟器的核心软件,包括模拟环境的创建、物理引擎、用户交互界面等。软件开发商还需要根据客户需求,定制特定的模拟功能和场景。 中游模拟器制造商是产业链的核心部分,他们负责将上游的硬件和软件整合在一起,形成完整的模拟器产品。制造商还需要进行产品的测试、优化以及售后服务。 下游最终用户。模拟器广泛应用于各个领域,如军事、航空、交通、工业、教育、游戏等。最终用户包括军事训练机构、航空公司、汽车制造商、教育机构、游戏开发商等。 此外,在模拟器行业的产业链中,还有一些重要的辅助环节,如:系统集成商负责将不同制造商的模拟器产品进行集成,形成更大规模的模拟系统,以满足特定领域的复杂需求。服务提供商提供模拟器的安装、调试、培训、维修等服务,确保模拟器能够正常运行并满足用户需求。 技术持续创新。随着科技的不断发展,模拟器行业将不断引入新技术,如虚拟现实(VR)、增强现实(AR)、混合现实(MR)以及人工智能(AI)等,以提升模拟器的性能和逼真度。这些技术将使得模拟器在军事、航空、教育、游戏等领域的应用更加广泛,满足更多样化的需求。 市场应用领域的拓宽。模拟器行业的应用领域将进一步拓宽。除了传统的军事、航空、教育等领域外,模拟器还将更多地应用于交通、医疗、工业等领域。例如,在交通领域,模拟器可以用于驾驶员培训和交通模拟;在医疗领域,模拟器可以用于医生手术培训和医疗模拟等。 国际合作与交流加强。随着全球化趋势的加强,模拟器行业将加强与国际市场的合作和交流。通过引进国外先进的技术和管理经验,提高国内模拟器的研发和生产水平,同时推动国内模拟器行业的国际化发展。 个性化与定制化需求增加。随着消费者对模拟器需求的不断提高,个性化与定制化需求将逐渐增加。模拟器制造商将更加注重用户体验和用户需求,提供个性化的产品和服务,满足用户的特定需求。 法规政策的推动。政府将加强对模拟器行业的支持和监管,出台相关法规政策推动模拟器行业的健康发展。例如,鼓励企业加大研发投入,提高产品质量和性能;加强市场监管,规范市场秩序等。 综上所述,模拟器行业将继续保持稳定增长的趋势,技术创新和市场应用领域的拓宽将推动行业的进一步发展。同时,国际合作与交流加强、个性化与定制化需求增加以及法规政策的推动也将为模拟器行业的发展提供有力支持。 了解更多本行业研究分析详见中研普华产业研究院。同时, 中研普华产业研究院还提供产业大数据、产业研究报告、产业规划、园区规划、产业招商、产业图谱、智慧招商系统、IPO募投可研、IPO业务与技术撰写、IPO工作底稿咨询等解决方案。 关注公众号 免费获取更多报告节选 免费咨询行业专家 相关深度报告REPOR...
煤矸石行业市场发展现状及前景趋势分析_人保伴您前行,人保财险政银保

煤矸石行业市场发展现状及前景趋势分析_人保伴您前行,人保财险政银保

人保伴您前行,人保财险政银保 _煤矸石行业市场发展现状及前景趋势分析 2024年5月15日 来源:百度 1035 66 煤矸石是采煤过程和洗煤过程中排放的固体废物,是一种在成煤过程中与煤层伴生的一种含碳量较低、比煤坚硬的黑灰色岩石,包括巷道掘进过程中的掘进矸石、采掘过程中从顶板、底板及夹层里采出的矸石以及洗煤过程中挑出的洗矸石。其主要成分是Al2O3、SiO2,另外还含有数量F图片来源于网络,如有侵权,请联系删除 煤矸石是在成煤过程中与煤共同沉积的有机化合物和无机化合物混合在一起的岩石,通常呈薄层和在煤层中或煤层顶、煤层底。按煤矸石的来源可分为煤巷矸、岩巷矸、自燃矸、洗矸、手选矸和剥离矸6大类;按煤矸石的岩石类型一般可分为黏土岩矸石、砂岩研石、钙质岩矸石和铝质岩矸石等。 煤矸石是采煤过程和洗煤过程中排放的固体废物,是一种在成煤过程中与煤层伴生的一种含碳量较低、比煤坚硬的黑灰色岩石,包括巷道掘进过程中的掘进矸石、采掘过程中从顶板、底板及夹层里采出的矸石以及洗煤过程中挑出的洗矸石。其主要成分是Al2O3、SiO2,另外还含有数量不等的Fe2O3、CaO、MgO、Na2O、K2O、P2O5、SO3和微量稀有元素(镓、钒、钛、钴)。 根据中研普华产业研究院发布的《 煤矸石综合利用以大宗量利用为重点,将煤矸石发电、煤矸石建材及制品、复垦回填以及煤矸石山无害化处理等大宗量利用煤矸石技术作为主攻方向,发展高科技含量、高附加值的煤矸石综合利用技术和产品。 煤矸石是采煤和洗煤过程所排出的固体废物,其理化性质主要取决于煤的原生状态。我国煤炭资源储量十分丰富,随着煤炭产能逐步释放,我国煤炭产量快速增加,2022年全国煤炭产量为45.6亿吨,同比增长10.4%。大企业特别是中央企业发挥了积极带头作用,完成了我国25%以上的煤炭供应。需求方面,我国煤炭需求量从2011年的39.71亿吨提升至48.49亿吨。 随着煤炭生产和加工的不断扩大,煤矸石、洗矸、煤泥等废弃物的排放量也在迅速增长,这给环境治理带来了越来越大的挑战。为了减少煤矸石排放对环境造成的污染,我国采取了分类梯级利用的策略,将其转化为有价值的资源。同时,随着煤炭产业向大型基地和企业集团的方向发展,短时间内产生了大量的煤矸石等废弃物,这给处理和消纳这些废弃物带来了巨大的压力。因此,利用煤矸石等低热值燃料进行发电成为了一种理想的解决方案。2022年,煤矸石发电和供热领域的市场规模达到了93.8亿元,煤矸石的市场价格约为268元/吨,这显示出煤矸石资源化利用的巨大市场潜力和前景。 根据国家统计局的最新数据,2022年我国在煤炭开采和洗选业的固定资产投资额相较于上年增长了24.4%,这个增速比2021年提高了13.3个百分点。另外,煤矸石的产量也在逐年攀升,从2014年的7.19亿吨增长至2022年的8.08亿吨,增长率达到了8.76%。目前,我国工业领域每年产生的煤矸石高达3.3亿吨,但其综合利用率仅为53.1%,综合利用量为1.8亿吨。尽管产量在增长,但在煤矸石的综合利用方面仍存在一些问题,如储量巨大、利用率低以及地域分布不均等。这些问题导致了煤矸石的综合利用能力难以符合国家在生态环境保护方面的要求。然而,我国正在积极寻求改善,例如在"十一五"期间,我国煤炭工业大力推动循环经济,遵循减量化、再利用、再循环的原则,共计利用和无害化处理了约9800万吨煤矸石,占当年排放量的50%,显示出我国在煤矸石综合利用方面的努力和成果。 煤矸石在建筑材料、土壤改良、道路铺设等领域的应用前景广阔。随着技术的进步和经验的积累,煤矸石再利用的效果将不断提高,进而增加市场需求。此外,煤矸石还可以用于发电和供热等领域,实现资源的最大化利用。 目前,煤矸石再利用技术和方法的研发仍需进一步完善。随着科研投入的增加和技术创新的推进,未来煤矸石再利用技术将更加成熟和高效。这将有助于提高煤矸石再利用的效率和效果,进一步拓展其应用领域和市场空间。 煤矸石行业市场存在着大量的供应商,竞争格局较为激烈。供应商之间主要通过价格、产品质量以及品牌形象等因素来争夺市场份额。这种竞争态势一方面推动了煤矸石行业的创新和发展,另一方面也要求企业不断提升自身竞争力以适应市场变化。 政府对煤矸石综合利用的政策支持将持续加大。政府将出台更多优惠政策,鼓励企业开展煤矸石综合利用项目,提高煤矸石的综合利用率。同时,政府还将加强监管力度,确保煤矸石再利用项目的环保性和可持续性。 煤矸石区域分布不均衡,主要集中在经济不发达的中西部地区。这些地区的煤矸石产业发展相对滞后,但具有较大的发展潜力。未来,随着国家对中西部地区经济发展的支持力度加大,...