横店东磁获得发明专利授权:“一种输送翻转机构及其实现方法”
70056
2025月07月19日
证券之星消息,根据天眼查APP数据显示横店东磁(002056)新获得一项发明专利授权,专利名为“一种输送翻转机构及其实现方法”,专利申请号为CN202010806154.5,授权日为2025年7月18日。

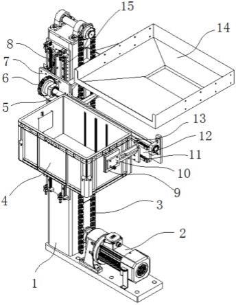
图片来源于网络,如有侵权,请联系删除
专利摘要:本发明公开了一种输送翻转机构,包括输送带,输送带中间位置的内部连接有吹气组件,输送带一侧对应吹气组件的位置连接有到位检测传感器,输送带和到位检测传感器分别与控制器信号连接;本发明还公开了一种输送翻转机构的实现方法。本发明通过吹气给工件施加一个向上的气吹力F,从而在气吹力F的作用下产生一个顺时针的力矩M驱动工件翻转,结构简单,成本低,只需调节进气量的大小来找到工件翻转外力大小的平衡点,就可以轻松实现工件的翻转,控制简单方便,安装便捷。

图片来源于网络,如有侵权,请联系删除
今年以来横店东磁新获得专利授权81个,较去年同期增加了47.27%。结合公司2024年年报财务数据,2024年公司在研发方面投入了7.22亿元,同比减17.66%。
通过天眼查大数据分析,横店集团东磁股份有限公司共对外投资了40家企业,参与招投标项目5381次;财产线索方面有商标信息224条,专利信息2576条,著作权信息18条;此外企业还拥有行政许可78个。
数据来源:天眼查APP
以上内容为证券之星据公开信息整理,由AI算法生成(网信算备310104345710301240019号),不构成投资建议。