*ST中利获得实用新型专利授权:“一种光伏分支电缆”
49959
2025月04月12日
证券之星消息,根据天眼查APP数据显示*ST中利(002309)新获得一项实用新型专利授权,专利名为“一种光伏分支电缆”,专利申请号为CN202421500415.0,授权日为2025年4月11日。

图片来源于网络,如有侵权,请联系删除
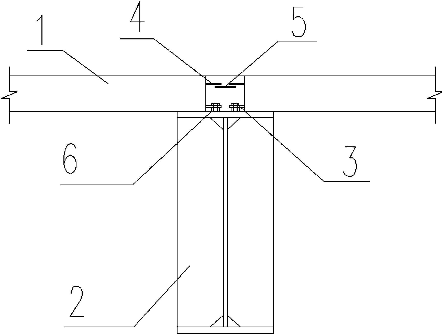
专利摘要:本实用新型提供一种光伏分支电缆,涉及分支电缆技术领域。光伏分支电缆包括主线,主线包括第一导体和第一绝缘层,第一导体包括主体部;至少一个支线,支线包括第二导体和第二绝缘层,第二导体的端部设置成与第一导体的主体部连接,第二绝缘层的端部与第一绝缘层的端部连接;与每个支线对应设置的至少一个注塑外壳,套设于第一绝缘层与第二绝缘层连接处的周侧;至少一个弹性组件,其一端与主线或注塑外壳连接,另一端与对应的支线或注塑外壳连接,以便支线朝向靠近主线的方向弯曲时对支线提供支撑力,支线与主线之间设有预设弯曲角度。本实用新型的光伏分支电缆能够实现对支线和主线的角度调节,同时避免主线与支线之间的绝缘层发生断裂。
今年以来*ST中利新获得专利授权7个,较去年同期增加了250%。结合公司2024年中报财务数据,2024上半年公司在研发方面投入了4278.73万元,同比减51.03%。
数据来源:天眼查APP
以上内容为证券之星据公开信息整理,由智能算法生成(网信算备310104345710301240019号),不构成投资建议。