迈得医疗获得实用新型专利授权:“整平机构及输送装置”
证券之星消息,根据天眼查APP数据显示迈得医疗(688310)新获得一项实用新型专利授权,专利名为“整平机构及输送装置”,专利申请号为CN202520767335.X,授权日为2026年3月3日。

图片来源于网络,如有侵权,请联系删除
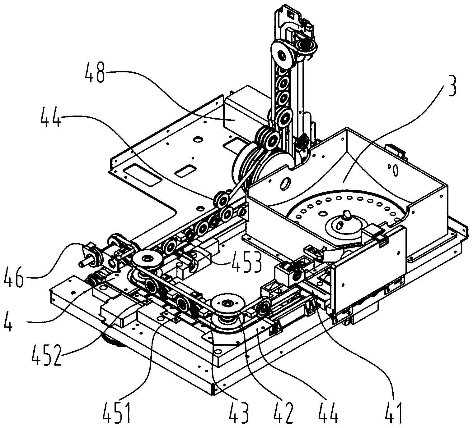
专利摘要:本申请提供一种整平机构及输送装置,涉及医疗器械生产领域。该整平机构包括升降板、抓取组件和两个整平组件;抓取组件和整平组件均安装于升降板,升降板可沿Z向升降;抓取组件位于两个整平组件之间,且具有两个沿Y向相对设置的夹爪,两个夹爪可向相互靠近或远离的方向移动;两个整平组件均包括整平件,两个整平件沿X向相对设置,且可向相互靠近或远离的方向移动。本申请提供的整平机构解决了现有技术中存在的整卷的输液器输送过程中易松散的技术问题。

图片来源于网络,如有侵权,请联系删除
今年以来迈得医疗新获得专利授权19个,较去年同期增加了5.56%。结合公司2025年中报财务数据,2025上半年公司在研发方面投入了1797.72万元,同比减11.43%。

图片来源于网络,如有侵权,请联系删除
通过天眼查大数据分析,迈得医疗工业设备股份有限公司共对外投资了9家企业,参与招投标项目25次;财产线索方面有商标信息27条,专利信息703条,著作权信息42条;此外企业还拥有行政许可12个。
数据来源:天眼查APP
以上内容为证券之星据公开信息整理,由AI算法生成(网信算备310104345710301240019号),不构成投资建议。