运达股份获得发明专利授权:“一种集成式传动系统结构及润滑方法”
证券之星消息,根据天眼查APP数据显示运达股份(300772)新获得一项发明专利授权,专利名为“一种集成式传动系统结构及润滑方法”,专利申请号为CN202410987607.7,授权日为2025年7月18日。

图片来源于网络,如有侵权,请联系删除
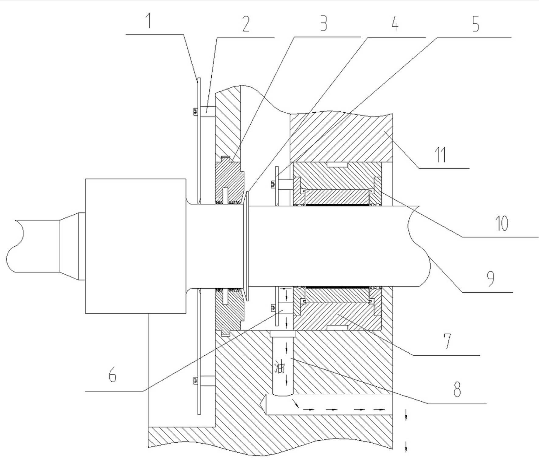
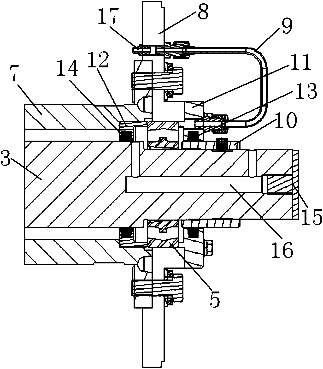
专利摘要:本发明公开了一种集成式传动系统结构及润滑方法,涉及风电机组设计技术领域,包括轴承座、前主轴承和后主轴承,轴承座上设置有凸台一和凸台二;凸台一与前主轴承之间的空腔、前主轴承内部空腔用于储存油脂润滑前主轴承;凸台二与后主轴承之间的空腔、后主轴承内部空腔用于储存油脂润滑后主轴承;根据前主轴承与凸台一之间的空腔体积以及前主轴承内部空腔体积,确定前主轴承的注脂量,根据后主轴承与凸台二之间的空腔体积以及后主轴承内部空腔体积,确定后主轴承的注脂量。上述传动系统结构及润滑方法将脂润滑应用于直驱式风电主轴承,能够使前主轴承和后主轴承获得稳定且良好的润滑效果,提高了使用寿命并减少了维护成本。

图片来源于网络,如有侵权,请联系删除
今年以来运达股份新获得专利授权51个,较去年同期减少了19.05%。结合公司2024年年报财务数据,2024年公司在研发方面投入了6.06亿元,同比增9.53%。

图片来源于网络,如有侵权,请联系删除
通过天眼查大数据分析,运达能源科技集团股份有限公司共对外投资了240家企业,参与招投标项目4276次;财产线索方面有商标信息113条,专利信息1199条,著作权信息432条;此外企业还拥有行政许可203个。
数据来源:天眼查APP
以上内容为证券之星据公开信息整理,由AI算法生成(网信算备310104345710301240019号),不构成投资建议。